当遇到这种情况的时候,我们首先要看一下
1.是不是客户端有没有配置错误的地方
2.检查更新资源,是否存在批量解密造成的文件损坏
3.检查更新资源是否齐全。
一般就是上述三种原因,小编之前遇到过第二种,解决方案为,替换为原来的更新资源,然后单独解密修改重要位置的文件,不要进行批量解密修改既可以
但是本次遇到这种情况是在游戏一切正常的情况下,遇到的,再排查了各种原因之后,我们发现了另外一个问题。
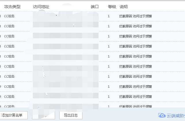
4.服务器开启了防御功能,误屏蔽了部分玩家的更新操作,例如下图
这时候,我们只需要关闭服务器的防CC攻击即可解决这个问题。
声明:本站所有文章,如无特殊说明或标注,均为本站原创发布。任何个人或组织,在未征得本站同意时,禁止复制、盗用、采集、发布本站内容到任何网站、书籍等各类媒体平台。如若本站内容侵犯了原著者的合法权益,可联系我们进行处理。
